2240310 1972 BMW 3.0cs

The diverter valve is installed and the cooling system is filled, so far with no leaks. This set up really makes me want to transition to triple webers...

IMG_1876.JPG
 
The coupe has been running rough lately so I decided to adjust the valves (two were slightly loose), check the timing (just a hair off), and check the carburetors for vacuum leaks. The front carb had developed a significant leak and was causing the lean misfire.

I hooked up my O2 sensor and then pulled the front carb off. The bottom was no longer flat, so I trued that up and did the same to the phenolic spacer and put it all back together. Still leaking, so off it came again and I called Pierce Manifolds for teflon throttle shaft seals for both carbs. I just installed the seals and fired it up for the first time and the leak is fixed, idles better and O2 readings are back where I would expect them to be.

Tomorrow will synchronize the carbs...
 
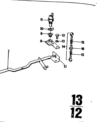
Just arrived home from the BMW Classic Car Club 20th anniversary event. I drove 1,880 miles with just a few issues to deal with. I will need to replace the trunk weather seal and adjust the passenger side window to better contact the weather striping and need a couple of carburetor linkage springs (# 15 in the picture below).

Overall, the coupe ran very well. The 5-speed is nice to have on extended highway driving and I checked the mileage at several points along the route and was getting ~20 miles per gallon at 75 miles per hour.


1761939714304.png
 
The speaker grill no longer stays in place. I suppose the mounting holes in the wood dashboard have become slightly enlarged over time. Is the fix to twist the round mounting tabs on the grill a bit to expand them or is there another solution?
 
The car is in off-site storage now so I am unable to grab pictures.

From memory, the speaker cover has hollow split metal studs with some barbs on one side. The dash has holes drilled to accept the mounting studs, with no metal or plastic inserts, so the wood is worn very slightly with each insertion and removal.
 
Thanks for posting. It looks as if there is only friction between the wood hole and the metal pin (both shown in the picture. I suppose I need to use a tapered drift punch to gently open the metal pin to better engage the drilled opening.
 
Bending the pins "open" is a tad risky, as it may break them, but it also expands the part (mostlyl that it actually isn't in the wood, as the end is pushed trough.


Other option: use some rubber glue on the pins; and let it dry up completely before install. The added friction will be enough to hold it.

Beauty is that is a fully reversible solution.

Wrap the pins with tape?
 
Good thought, I will build up some material instead. The coupe is stored off-site in a nice humidity controlled building so I can free up some garage space for some other projects.

CarVault Storage Aug 2025.JPG
 
Looking forward to driving season here on the east coast so I pulled the coupe out of storage and brought it home for some work. First an oil and filter change, easy.

Next was to look for something loose as I had a clunking from the driver's side front when I run over uneven pavement or a pothole. Here on the east coast, it is almost 100% uneven pavement because of our crap weather, so it was driving me nuts.

I think that the sound is coming from the front struts, and I suspect that the shock insert itself is loose inside the strut assembly. I think the fix for this will be to find a shim to take up some space at the bottom of the assembly and making sure that part #3, the "threaded ring" is good and tight. While the passenger side is not making noise I am thinking that I may want to take the time to dig in and make adjustments there as well.

1775074187184.png




Years ago (not too many miles ago) I installed the gas shocks sold by Stefan Reis, these feel fairly compliant, on the front, and I am thinking about getting something a little stiffer. When I pulled the coupe apart it had completely clapped out Koni's on the front and Bilstein HD on the rear and the rear was so stiff it was like driving a 3-ton truck. Is that stiff ride what Bilstein HD's are like? What are you using for shocks?
 
Check the m18 nut holding the shock to the strut bearing first but use an impact wrench. I have Bilstein HDs with the Paul Baker springs and they aren’t too harsh, also had them on Malaga.
 
Check the m18 nut holding the shock to the strut bearing first but use an impact wrench. I have Bilstein HDs with the Paul Baker springs and they aren’t too harsh, also had them on Malaga.
Thanks, I did check with my strut wrench that has a pass through socket that allows a second socket to hold the shock to keep it from spinning. It was tight.

I have a nylock on the strut and I think the pressure from that will just spin the shock.

It would be much easier to simply tighten that nut. I will see if I have a non-locking nut to try.
 
This reminded me of a clunk I had on LS front. Could not see anything loose in suspension, and I had recently replaced upper strut bushings, all secure there, and control arms were new-ish. Finally discovered upper M12 bolt to caliper was loose. Part number 6 in attached. Tightened up snug, and clonk was gone. I hope you have a similar simple resolution.
Screenshot 2026-04-01 at 5.59.30 PM.png
 
I usw koni red front and rear.
They don't lift the car by gas pressure, so she has a nice stance.
And they are adjustable.
Best ride for me.
Not to stiff, and you can change you car behavior between over or under steering by different stiffness front or rear.

Breiti
 
I usw koni red front and rear.
They don't lift the car by gas pressure, so she has a nice stance.
And they are adjustable.
Best ride for me.
Not to stiff, and you can change you car behavior between over or under steering by different stiffness front or rear.

Breiti
I did reach out to Koni again this morning and this time they responded quickly. Their reply:

"Thank you for contacting us here at KONI NA. Unfortunately, the KONI Sport shocks for the BMW 3.0cs are no longer available as they have been discontinued for several years now. The old part numbers were 86 1667 for the front strut inserts, and 80 2092 for the rear shocks. "

@Breiti, did you buy them new recently? If so, were these the part numbers?
 
Last edited:

Attachments

  • IMG_5323.jpeg
    IMG_5323.jpeg
    185.2 KB · Views: 30
  • IMG_5325.jpeg
    IMG_5325.jpeg
    146.1 KB · Views: 30
  • IMG_5326.jpeg
    IMG_5326.jpeg
    144.2 KB · Views: 32
  • IMG_5327.jpeg
    IMG_5327.jpeg
    183.1 KB · Views: 32
  • IMG_5328.jpeg
    IMG_5328.jpeg
    177.4 KB · Views: 32
  • IMG_5329.jpeg
    IMG_5329.jpeg
    88.9 KB · Views: 32
Looking forward to driving season here on the east coast so I pulled the coupe out of storage and brought it home for some work. First an oil and filter change, easy.

Next was to look for something loose as I had a clunking from the driver's side front when I run over uneven pavement or a pothole. Here on the east coast, it is almost 100% uneven pavement because of our crap weather, so it was driving me nuts.

I think that the sound is coming from the front struts, and I suspect that the shock insert itself is loose inside the strut assembly. I think the fix for this will be to find a shim to take up some space at the bottom of the assembly and making sure that part #3, the "threaded ring" is good and tight. While the passenger side is not making noise I am thinking that I may want to take the time to dig in and make adjustments there as well.

View attachment 217745



Years ago (not too many miles ago) I installed the gas shocks sold by Stefan Reis, these feel fairly compliant, on the front, and I am thinking about getting something a little stiffer. When I pulled the coupe apart it had completely clapped out Koni's on the front and Bilstein HD on the rear and the rear was so stiff it was like driving a 3-ton truck. Is that stiff ride what Bilstein HD's are like? What are you using for shocks?
Probably need to drop the entire front subframe and replace all the bushings, especially the front strut rod ones. Maybe do this twice so as to assure reliability...:cool:
 
Back
Top