Heartbreak-broken rear shock mount

My friend has passed on the opportunity to make these shock tower tops. I sent him photos from this thread of previous washer type repairs and the latest diagram.
Here is his reply:

"No I don't see how I could make those for $50 each. I presume that drawing is from your forum folks. I guess I need to buy some 4" steel and hog away most if it. That's a lot of chips. And I doubt that the shock tube is perfectly cylindrical, so a fit as shown in that drawing would be a fantasy. The new part is thick where it wouldn't need to be and has a nasty sharp corner which would be a stress riser.
Frankly I think the big washer idea has more merit, but a cleaner welding job would be called for."



I've been thinking of this repair and have been considering the possibility of using a hydraulic press with a pair of shaped anvils to form a heavy cupped washer that fits on top of an existing tower and arcs over the edge enough to be welded to the sides. This avoids the need to evenly cut off 15mm from the mount. Hard to say how easy it would be to install on a blown out top.

Paul's previous posting about using a mild steel schedule 40 pipe end cap is interesting as it's almost an off the shelf solution and robust, if a bit large. My cupped washer idea should be sufficiently strong and avoid the difficulty of welding very thick metal to the thin body metal that Markos mentioned on this thread back in 2017. Producing the anvils would be the spendy part, again needing lathe work. Getting some disks cut out by water jet or plasma should be fairly cheap. And of course access to a press would be needed.

Has anyone measured the thickness of the metal in the stock shock mount cylinder? I don't have mine apart.
 
So do folks envision welding up inside the shock "tunnel" from under the car where the inside lip is (where the 5mm label is in Bmachine's drawing) or just welding around the perimeter that can be seen from the trunk? Or both?
@Stevehose described his process earlier. Post 112 shows the result. No welding from inside.
 
My friend has passed on the opportunity to make these shock tower tops. I sent him photos from this thread of previous washer type repairs and the latest diagram.
Here is his reply:

"No I don't see how I could make those for $50 each. I presume that drawing is from your forum folks. I guess I need to buy some 4" steel and hog away most if it. That's a lot of chips. And I doubt that the shock tube is perfectly cylindrical, so a fit as shown in that drawing would be a fantasy. The new part is thick where it wouldn't need to be and has a nasty sharp corner which would be a stress riser.
Frankly I think the big washer idea has more merit, but a cleaner welding job would be called for."



I've been thinking of this repair and have been considering the possibility of using a hydraulic press with a pair of shaped anvils to form a heavy cupped washer that fits on top of an existing tower and arcs over the edge enough to be welded to the sides. This avoids the need to evenly cut off 15mm from the mount. Hard to say how easy it would be to install on a blown out top.

Paul's previous posting about using a mild steel schedule 40 pipe end cap is interesting as it's almost an off the shelf solution and robust, if a bit large. My cupped washer idea should be sufficiently strong and avoid the difficulty of welding very thick metal to the thin body metal that Markos mentioned on this thread back in 2017. Producing the anvils would be the spendy part, again needing lathe work. Getting some disks cut out by water jet or plasma should be fairly cheap. And of course access to a press would be needed.

Has anyone measured the thickness of the metal in the stock shock mount cylinder? I don't have mine apart.
While looking past the cynical nature of this response (we get that a lot in the building trades - no one is a craftsman anymore), I do agree about the part going from thick to thin metal would create a lot of stress and would be the new point of failure. I don't have an engineering calculation to prove this, but that is my understanding from similar experiences. I also completely understand his comment on the amount of waste that would be generated by scraping away 90 percent of a solid cylinder to create this "rocks glass". :cool: Fitting a perfect cylinder into a slightly out of round cylinder should be easy, given the build dimensions are correct.

I haven't cut anything off my towers, but as you know my car is completely apart so if there is something I can measure, I'd be happy to.

I like your idea of pressing these. This would essentially match the original construction, yes? Albeit brand new rather than 4+ decades of work hardened stress.
 
While looking past the cynical nature of this response (we get that a lot in the building trades - no one is a craftsman anymore), I do agree about the part going from thick to thin metal would create a lot of stress and would be the new point of failure. I don't have an engineering calculation to prove this, but that is my understanding from similar experiences. I also completely understand his comment on the amount of waste that would be generated by scraping away 90 percent of a solid cylinder to create this "rocks glass". :cool: Fitting a perfect cylinder into a slightly out of round cylinder should be easy, given the build dimensions are correct.

I haven't cut anything off my towers, but as you know my car is completely apart so if there is something I can measure, I'd be happy to.

I like your idea of pressing these. This would essentially match the original construction, yes? Albeit brand new rather than 4+ decades of work hardened stress.
New, and thicker steel. The grade of steel can be chosen as well, not too brittle, not too soft. Thinking about it, it wouldn't even be necessary to make a set of shaped dies. Simple cylinders with a bit of slope on the corners should be sufficient. With the right dimensions and forces, a rolled-over lip should be easy enough to achieve, if we're not using super heavy steel, which we're not.

I already have a 50-ton hydraulic jack though I'd have to build the rest of a press. It wouldn't be too hard, I've got a plasma cutter and 7 feet of large I-beam just sitting in the back yard as well. Hmm.
 
Last edited:
Typical grumpy machinist! :D

Before I build anything. I like to see what is out there. A cap doesn’t need to match the exact profile of the strut top. It just needs to touch in the center and wrap around the edges.

I don’t have my spare strut top handy, and my trunk is full of goodies. I do have my elephant skins handy, and the diameter appears to be right around 4”.

Google 4” steel pipe cap. There are many to chose from. Avoid stainless and galvanize zed for obvious reasons.

Note, some of these are stainless but I liked the profile.
D620FE2F-9D2A-4E89-94AF-B61105C9D826.jpeg
C069BE39-B76B-4838-9321-844419C3477B.jpeg
A4379CCC-F398-4B26-A1C6-C6B2197FC4B8.jpeg
95892CCF-096C-4B58-9D97-A7036780E0DA.jpeg
 
Typical grumpy machinist! :D

Before I build anything. I like to see what is out there. A cap doesn’t need to match the exact profile of the strut top. It just needs to touch in the center and wrap around the edges.

I don’t have my spare strut top handy, and my trunk is full of goodies. I do have my elephant skins handy, and the diameter appears to be right around 4”.

Google 4” steel pipe cap. There are many to chose from. Avoid stainless and galvanize zed for obvious reasons.

Note, some of these are stainless but I liked the profile.
View attachment 133477View attachment 133478View attachment 133479
Well, he comes from a profession of designing ultrasound scan heads where parts are tiny and tolerances are minute.

I like the domed one. It's nice because that doesn't have corners to promote stress cracks and would distribute the force evenly but it could change the height of the shock top unless the existing mount is cut down a bit, which some people thought would be tricky to get right.
Getting the right diameter might be a bit of a search as well and if we're fitting this over the existing mount, would body stiffening or battery mounting struts still fit over them? Just another point to consider. But the price could be almost trivial if we find the right one.
 
McMaster-Carr has one that's not too tall, but like the other schedule 40 pipe caps, it's got walls that are 0.237" thick, adding almost half an inch to the diameter. However the thicker mild steel it's made from will likely be strong enough to last, but as it's a pipe fitting, its ratings are meaningless in this use. It is intended to be welded in place and so has a tapered edge to facilitate that.
This one would put the shock 1.12" (28.45mm) higher unless that much was removed from the stock mount.
$40.95 plus shipping.

43425K216_Standard-Wall Butt-Weld Steel Unthreaded FittingM.gif
 
Last edited:
So the profile would be something like this:

View attachment 133369
if you are machining this, you could / would radius the corners
not having one nearby to look at and measure, I am just guessing, but the 'tube' looks like it is stamped (pressed) so it would probably have some draft, would taper from a lager diameter at the bottom to smaller at top, if that was true contact would not be flush inside
also you would need to account for some tolerance, if you design for a net fit and one part is too large or small it won't go together
and to get it started into the hole, I would put a chamfer the the outer, lower edge
 
How will you cut precisely 15mm from the top, evenly all the way around?
Maybe I’m missing something but I’m thinking of simply using an angle grinder. I am definetly no expert but because there is quite a bit of overlap of the cap inside the tower below that 15mm cut, I don’t think you have to be super precise in your cut. You would do as @Stevehose did (post 112) and weld just below the 15mm lip as well as drill 3 or 4 holes in the tower wall below the cut line for a few plug welds.
 
Last edited:
In Markos's photos the bottom or last is the one to get.....and is the one I used. It is what is called a "Slip On" welded fitting and as I said fits over the tower with about 1.5 mm clearance. The other cap is called a "Butt Weld" fitting and is designed as it says to butt up to the tower end and then weld. Obviously this can't be done due to different diameters. These fittings are forged and thus very strong. Schedule 40 is rated at 150lb. which has an operating pressure of about 1400 psi. :)
 
Last edited:
Typical grumpy machinist! :D

Before I build anything. I like to see what is out there. A cap doesn’t need to match the exact profile of the strut top. It just needs to touch in the center and wrap around the edges.

I don’t have my spare strut top handy, and my trunk is full of goodies. I do have my elephant skins handy, and the diameter appears to be right around 4”.

Google 4” steel pipe cap. There are many to chose from. Avoid stainless and galvanize zed for obvious reasons.

Note, some of these are stainless but I liked the profile.
Granted, these pipe caps may not require you to cut the whole top of the tower off, but, if most of the original metal is still there, they still require you to drill a good size hole (at least 50mm I’m guessing) off the center of tower so that the rubber bushing at the top of the shock can get through it and attach to the 25mm hole you would drill in the center of the new cap. Hopefully that make sense…
 
This one would put the shock 1.12" (28.45mm) higher unless that much was removed from the stock mount.
$40.95 plus shipping.
If an off the shelf solution costs this much and requires that over one inch of the mount be removed, it seems less cost effective than a custom made solution. It also seems to me that having the extra "meat" inside the mount tube that @Stevehose's design would provide is more desirable than any top mounted "cheaper" part.
 
If an off the shelf solution costs this much and requires that over one inch of the mount be removed, it seems less cost effective than a custom made solution. It also seems to me that having the extra "meat" inside the mount tube that @Stevehose's design would provide is more desirable than any top mounted "cheaper" part.

My question is why does anything need to change on the outside? I think that the @Stevehose solution is good when the top blows out. If everything is intact, why not put the cap on the inside? You can make the walls as long as you want. Drill some holes in the walls of the strut tower and plug weld the interior cap.
 
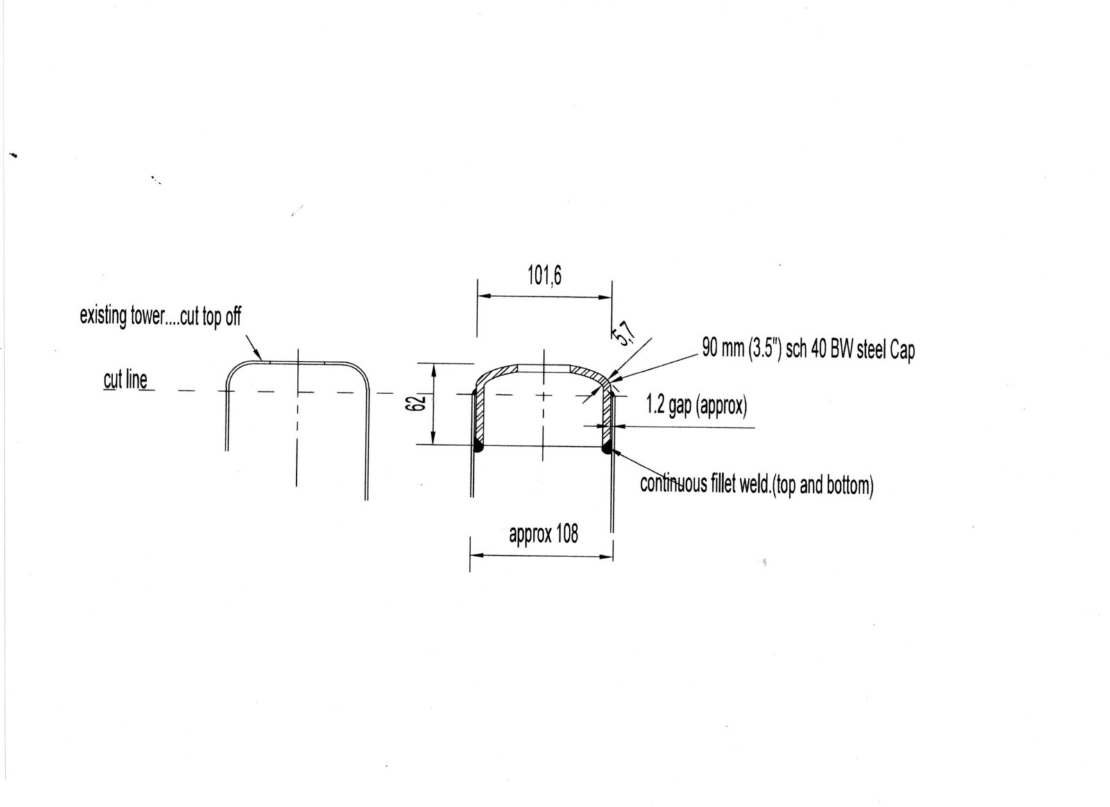
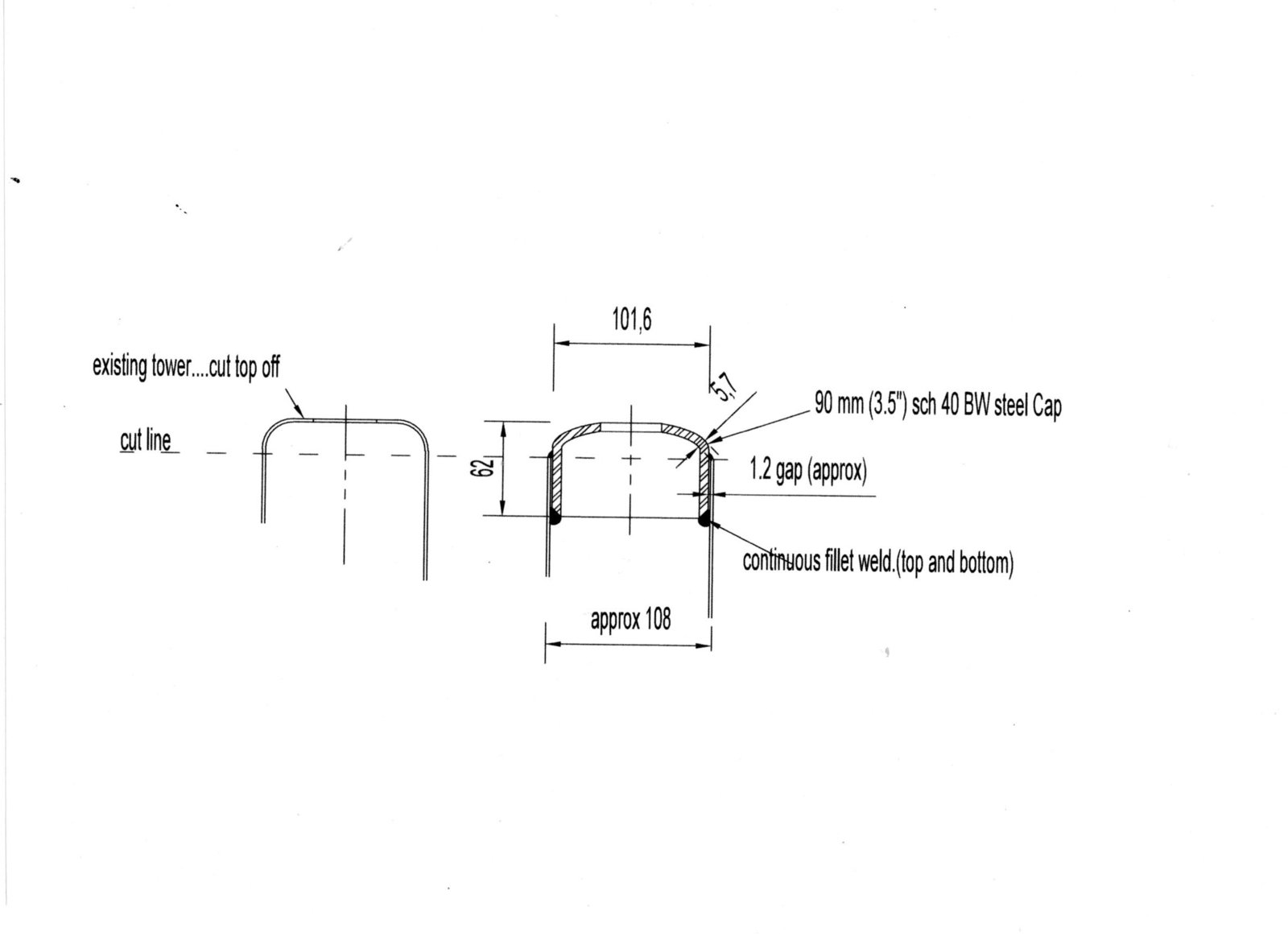
Continuing on here........attached is a sketch using a 90mm or (3 1/2" in the old world) sch 40 BW cap. welded internally. I am not sure exactly the OD of the tower I measured mine around 108mm. I would assume the material thickness would be no more than 2mm....so the cap should just slide inside.
The only mods you would have to do is cut the top of existing tower and bore or water cut a suitable size hole in top of cap to suit shock fitting. To me this seems the cheapest and neatest solution for those not wanting to do an external mod. :)

Shock Tower.jpg
 
Continuing on here........attached is a sketch using a 90mm or (3 1/2" in the old world) sch 40 BW cap. welded internally. I am not sure exactly the OD of the tower I measured mine around 108mm. I would assume the material thickness would be no more than 2mm....so the cap should just slide inside.
The only mods you would have to do is cut the top of existing tower and bore or water cut a suitable size hole in top of cap to suit shock fitting. To me this seems the cheapest and neatest solution for those not wanting to do an external mod. :)

View attachment 133622
If such a cap can be found that would be a great solution indeed.
A couple of observations: earlier in the thread Stevehose mentioned that the ID on his tower was about 98 mm. If the wall thickness is 2 mm that would imply that his tower OD is 102 mm. When I measured mine it appears to be about 104 mm. And you mentioned that yours is 108 mm. It seems odd that we have three different measurements for what must have been a part that was made on the same press.
The bottom line is it looks like we cannot assume that all one size cap will fit all towers.
Also on your drawing, it looks like you need to do add fillet weld inside of the tower, from underneath of the wheel well. That will probably be very difficult to do. The plug weld solution from @Stevehose would be an easier way to do it.
 
Back
Top